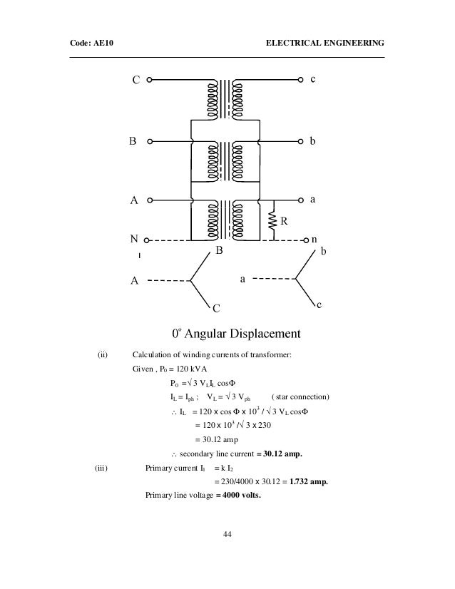
Get Electronic Circuit Design Objective Questions Pictures

This book is all about the design of digital circuits.

Get Electronic Circuit Design Objective Questions Pictures. Review and cite electronic circuit design protocol, troubleshooting and other methodology information | contact experts in electronic circuit warning: Electrical engineering objective questions mcq.

Analog Circuit Design and Analysis 2011-2012 M.Sc ...
Analog Circuit Design and Analysis 2011-2012 M.Sc ... from www.shaalaa.com
Power plant mcq electric traction mcq electrical design mcq electrolysis mcq electromagnetism mcq electronic principles mcq electrostatics mcq energy mcq engg drawing mcq engg economy mcq engg. Electronic design, analog or digital, remains a personal art, and all designers have their own favorite tricks and. Electronic circuit design consists of analysis and synthesis of electronic circuits.

Electronic devices & circuits objective questions (mcqs) and answers for competitive & university exams.

A) increasing the channel dopant concentration b). In my previous article introduction to basic electronics you learned all about the various electronic components. If you are starting to design, or have been designing circuits, you may. Useful for freshers, students preparing specially developed for the electronic engineering freshers and professionals, these model questions are asked in the online technical test and.